誰が雷電をそうさせたか

https://www.tamiya.com/japan/products/61018/index.html

 

 

第一次世界大戦で、飛行機に機関銃を載せて人を撃ち56すという行いを覚えた人類は、武器としての飛行機を開発強化することに血道をあげるようになりました。

まずはプロペラ同調装置が生まれ。それまで横だの後ろだのにしか発射できなかった機銃を機軸そのものに合わせた前方にぶっぱなすことができるようになり、命中率が飛躍的に向上した。

その当時の空中戦はどんなかというと、同高度でだいたい5キロくらい先か?互いにゴマ粒みたいな敵編隊を発見し。

ぶんぶん、おんおんおん、なんてエンジン音は勇ましいけれど、なんかまどろっこしい時間が過ぎてゆっくりと彼我が近づき(30秒くらいらしい)。

ついにはびゅーんと通り過ぎざまに正面射撃、反転して敵機の尻に食いつく、という感じになった。

このあとは、すばしこく敵の尻に食いついて、敵の反撃できない後ろからどれだけ機関銃弾をばらまけるかというのが勝負になった。

これを「ドッグファイト」というのです。

第一次大戦時の複葉戦闘機は、こうした曲技飛行みたいな絡み合いに最も適した形態に進化していました。

https://www.youtube.com/watch?v=VC4g3CYoaD0

 

 

 

一方、いつもこそくな手段で荒稼ぎする奴が現れ。

リヒトホーヘンという、ドイツ丸出しの名前を持つおっさんは、敵を発見したら、上記のように正々堂々と同高度で近づいていくのはやめて、雲の中に隠れて太陽のほうへ移動していき。

敵編隊と太陽の間、上空から降りかかるように急降下すれば、太陽の光で敵は目つぶしを食ってしまい。

この第一撃で相当の撃墜数を稼いだらしい。

もちろん、その後はやっぱり彼我入り乱れてのドッグファイトになり、ここでも操縦がうまかったので撃墜王になった。

ここでドイツ人はある学びを得たのだった。

「敵より速くて、上昇できる飛行機を作れば勝てる」

でも戦争はドイツ敗戦で終わり。空軍や航空産業を蹂躙されてしまった。

勝ったほうのイタリアや日本はドッグファイトにこだわり、じっさい97戦は世界最高の軽戦闘機になりました。

というか、30年代までは、格闘戦に強くないと確かに勝てなかったのである。

なぜかというと「戦闘機の性能が絶望的にとろかったから」

敵を発見しても、互いにのこのこのろのろ近づいていき、相手の顔が見えるじゃん、くらいまで近づいて初めて戦闘開始できた。

その後は、乗り手の判断力で雲に隠れるだの太陽を背にするだのいかようにも飛行機を操り、実は飛行機の性能差よりもパイロットの能力のほうが隔絶して重要だったのである。

P36と零戦が空中戦になったとして、実態として両者ともに同じような高度、同じようなスピードでの格闘戦になり。確かに零戦は強いけれど、それより零戦乗りの神業のほうが勝負を決定していた。

アメリカ戦闘機のわりに格闘戦重視のP36

https://moraisvinna.blogspot.com/2011/05/22-de-maio-de-1942-14-horas-b-25.html

 

 

これがP47と零戦だったらどうなるか。零戦に後ろを取られたP47は、ぐわーんと高度1万メートルまで逃げていってしまい。8000メートルくらいか?零戦はエンジンが息切れして振り切られ、パイロット以前に、ここで物理的に勝負なしで終わってしまうのだった。

つまり、上記の「ドイツ人のまなび」とは、「とにかくパワーがある飛行機を作れば戦争は勝てる。飛行機という機械のパワーがパイロットの能力を凌駕する日が必ず来る」ということだったのである。小学生みたいだけど。

これを一番効率よく体現したのがアメリカ。

ライト2800とかいう2500馬力のエンジンを作り。P47などに乗せて、ほかの国では上がれない高高度にいっさんに上ってゆき、下でまごまごしている敵を急降下でたたき潰すということが可能になった。

「動けるデブ」P47 パブリックドメイン

 

 

日本人も頑張った。でも、実用化できたのは「火星」とかブリストルちっくな名前をもった、模造品ではないけれど、1800馬力がいっぱいいっぱいだった。

2500馬力とは、どうがんばっても張り合えないのである。

といって1000馬力の零戦による格闘戦法ではすでに先は見えていた。

どうしよう。。。。。

例によって、日本人の得意技である「機体空力で何とかエンジンの出力差を埋める」ことになった。

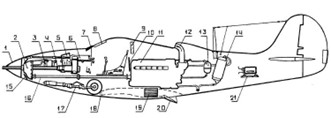
こうして「丸っこい雷電」が生まれたのである。

ぼくは個人的には、あの「肥えすぎたサツマイモ」みたいなスタイルが大好きなのですが、しかし、あのスタイルが生まれたのには、一撃離脱の高性能戦闘機に必須の超大馬力エンジンが作れなかったという絶望的な事情が隠れていたのです。

空気抵抗を小さくするには、流線型にする必要があり。

しかし、零戦とか隼みたいな「ただの流線型」では、低馬力の日本エンジンでアメリカには勝てない。

そこで、当時の日本の技術を結集して、最も空気抵抗の低くなる流線型とは何か、を追求したら「肥えすぎたサツマイモ」じゃなかった「紡錘形」に行きついたのであった。

実際、一式陸攻みたいに、ぶっとい葉巻型の機体にすることで、複葉機とかでは最適化に成功していたらしい。

戦闘機でやったらどうなる?その回答が「雷電」だった。

紡錘形ということは、機首周りは絞られていて、サツマイモというよりラグビーボールのほうがいいか、みたいな感じの機体になり、その中心ちょっと前くらいが最も太くなるようにデザインする必要があり。

直径のでかい火星エンジンではとても機首というわけにはいかず、機首から70センチくらい後ろにずらして設置するしかなくなった。

機首が絞られて空気取り入れ口も小さくなったので、70センチのすきまに空冷ファンを噛ませて強制冷却することになった。

そんな変なことをしたので、エンジンの回転をプロペラに伝える過程で恐ろしい振動が発生し、実戦配備後も結局100%解決しきれなかった。

強制冷却ファン

https://static.mercdn.net/item/detail/orig/photos/m22518049330_13.jpg?1743285241

 

 

冷却ファンのカウリング

 

 

1/32 飛行機 Stシリーズ 三菱 J2M3 局地戦闘機 雷電 21型 ハセガワ (Hasegawa)

 

 

P39の場合、プロペラシャフトがパイロット後方から延々と機首に延び、その上を機関銃が鎮座していたのにくらべ、雷電は70センチ程度じゃん全然大丈夫、とはいかなかったらしい。

P39 https://www.globalsecurity.org/military/systems/aircraft/images/p-39-image01.jpg

 

 

プロペラシャフトの技術というより、日本の場合、2000馬力級のエンジンにおけるダイナミックバランサー(ピストン回転による慣性の打ち消し装置)が貧弱だったという情報もある。

要するに、日本の技術力では限界を超えてしまっていた。

それでもがんばって、なんとか実戦配備までこぎつけ。対戦闘機戦闘よりもB29をやっつけるうえで活躍した(戦闘機相手でも強かったけど)。

紡錘形の機体が、どれほど雷電のスピード向上に役立ったか?

実は「大して役に立っていなかった」そうです。

ははは

当たり前ながら、雷電には機首に大きなプロペラがついています。

このプロペラが作り出す強力な後流や、プロペラブレードの回転によって生じる複雑な乱流が、胴体前部や主翼の付け根付近の気流めちゃくちゃかきまわし。

紡錘形胴体が単独で飛行する場合には空気抵抗が低いですが、プロペラ後流内の高速でねじれた気流の中では、設計者が意図したような低抵抗の流線形としての効果が十分に発揮されなかったのだった。

あと、彩雲偵察機みたいに、エンジン直径が胴体の最大直径だ!みたいにいさぎのよい割り切りができず、グラマンみたいなぶっとい胴体になってしまったため、そのぶん「機体容積」が増えてしまい。増えた分だけ重量もかさんだりして、要すれば「容積効率」が悪くなってしまったそうである。

彩雲偵察機 http://www.nags-gallery.com/gallery/C6N1.htm

 

 

じゃあどうやってB29を迎撃できたの?単純に火星エンジンの性能が可能にしたから、です。ははは

大馬力エンジンの威力は爆発的で、離陸から一瞬のうちにB29のいる高度まで駆け上がっていき(実はB29も中低高度爆撃に切り替えていたけど)、それこそ雷電のような一撃を食わして、あっという間に急降下で消えていく、みたいな、胸のすくような一撃離脱だったそうです。

もし雷電にR2800が装備できたら、どんなバケモノ戦闘機になっていたか。おっとタービン過給機も必要になり、格闘性能が低下してしまったことでしょう。あれ?

実は、意識的かどうかは別として、紡錘形とは逆のアプローチで成功した名機もあり。

でも、3000字を超えたので今回は終わりにします。

ではでは。。。。

Tags:

コメントを残す